| |
|
Skutečný původ Ježka v kleci |
|
článek č. 010,
28.5.2025 napsal:
Radek Micopulos |
|
|
|
Přestože se v poslední době nic nového nedělo, tak
pátrání po předchůdci Ježka v kleci respektive součásti, která umožnila jeho
vzniku, dále pokračovalo. Už od dob nálezu firmy, ve které se tento hlavolam
vyráběl, jsem intenzivně pokračoval v hledání. |
| |
|
 |
| |
|
odlitky pro hlavolam Trilby se
zhotovovaly v továrně společnosti Peck, Stow & Wilcox Company v Plantsville
(USA) |
 |
|
|
|
Jak bylo již dříve zmíněno, hlavolam
vznikl náhodou, když si jedna firma dala omílat své díly. Jedná se o
povrchovou úpravu, která odstraní nečistoty a nerovnosti povrchu odlitku.
K tomuto účelu se používaly hvězdice se 6 hroty. Jak je známo, tak omílanou součástí byla "zvláštně tvarovaná železná objímka
s nepravidelnými otvory na 4 stranách a kruhovými otvory na obou koncích".
Díl vážil asi jednu unci což je 28,3 g. |
| |
|
 |
pan Peck - spoluzakladatel firmy
Peck, Stow & Wilcox Company |
|
|
|
V
novinovém článku z roku 1895 se uvádí, že v této součástce uvízla omílací
hvězdice a to bylo impulzem pro výrobu hlavolamu s tímto systémem. V
pozdějších článcích se píše, že za vynálezem stojí pan James Quinlain. Ten
pravděpodobně celý nápad vylepšil - dal výrobku konkrétní podobu a princip.
Nikde však nebylo řečeno jaké změny musel udělat, jestli něco přidal,
upravil, zvětšil nebo zmenšil. |
| |
|
|
| |
|
hlavolam Trilby |
| |
|
 |
|
|
|
Hledal jsem v katalozích firmy Peck,
Stow & Wilcox Co. (Plantsville, Connecticut, USA) ve které k příhodě došlo a
kde se později začaly hlavolamy vyrábět. Stále jsem však nemohl najít nic,
co by tvar klece alespoň vzdáleně připomínalo. Začal jsem tedy prohledávat
všechny ostatní katalogy nářadí, patenty, další vydání novin z té doby a
pokoušel jsem se poptávat i na sociálních skupinách, které se zabývají
starým nářadím. Vyzkoušel jsem i vizuální vyhledávání dle tvaru a vzhledu
konečného výrobku. To vše dopadlo bez úspěchu.
|
| |
|
 |
Radek Micopulos
badatel a konstruktér hlavolamů |
|
|
|
Při pátrání po spojitostech se
zmíněnou firmou jsem 11.2.2025 našel první stopu. Firma A. Tredway &
Sons Hardware Co. byla prvním velkoobchodem s železářským zbožím na západ od
řeky MISSISSIPPI, když ji v roce 1853 založil Alfred TREDWAY. U každého
svého dodavatele (výrobce) udával jejich sortiment. Právě u zmíněné firmy Peck Stow & Wilcox byly tyto nástroje: kleště, průbojníky, skoby, ruční
vrtačky, dláta na dřevo, třmeny, klíče, duté šrouby. Právě poslední zmíněné
– v originálním znění Stearns (hollow augers) považuji za skutečného
předchůdce klece Trilby, potažmo konceptu Ježka v kleci! |
|
|
|
podoby Stearns |
|
|
|
|
Proč si myslím, že je to právě tento
nástroj? Prohledal jsem takové množství katalogů, novin a patentů a nic se
nepodobalo nám známé kleci právě tak, jako tento výrobek. Také je zde fakt,
že právě tento nástroj byl jeden z nejrozšířenějších a pouze jeho verzí
existovalo téměř 100. Dále je zde jasně viditelné, že se jedná o odlitek
ve tvaru celistvé klece. Přestože má většina nástrojů 3 otvory (na několika
typech jsou i 4), tak je velmi pravděpodobné, že byl jeden otvor přidán,
protože na něho zkrátka bylo, na plášti nové trubkové klece, místo. |
|
|
|
 |
různé velikosti Stearns
a hlavolam Trilby |
|
|
|
Logická úvaha dává tušit, že i dílu
se dvěma otvory by byly přidány další dva otvory v druhé ose. Podobným
způsobem vznikl Ježek v Čechách, když byl zvětšen průměr klece
a přirozeně tím přibylo místo na plášti pro další, pátý otvor. |
|
|
|
podobnost obliny nástroje
a vrchní strany hlavolamu Trilby |
 |
|
|
|
Bylo rovněž
žádoucí, aby klec měla více otvorů a řešitele o to více zmátla. K tomu účelu
byly také přidány zoubky zasahující z boků do vnitřní plochy oválných
otvorů. Právě rovný otvor bez těchto zoubků nebyl tím správným a naopak
otvor s nečlenitějším tvarem byl ten, který dovedl k řešení. |
|
|
|
 |
podobnost bočního otvoru nástroje
vs hlavolam Trilby |
|
|
|
Na konstrukci finálního výrobku (Trilby)
je vidět, že již nešlo opakovat situaci, kdy by vnitřní hvězdice
zapadla do klece náhodně. Otvory byly patrně vyrobeny menší a finální otvor
byl dodatečně tvarován dle vložené hvězdice. Na kleci má kromě výstupků
zasahujích do vnitřní strany otvoru, také jedno místo, vypilované do
tvaru malého výřezu - zoubku mimo základní obvodovou stěnu klece. |
|
|
|
podobnost spodního otvoru nástroje
a hlavolamu Trilby |
|
|
|
|
V USA jsem narazil ještě na označení tennon cutter, což odpovídá českému
názvu čepová řezačka či čepová fréza. Stearns je zavedený výraz, ale ve
skutečnosti je to jen nejznámější značka tohoto nástroje. Hollow augers je
pak v doslovném překladu "dutý šnek". K čemu to vlastně sloužilo? |
|
|
|
 |
ukázka kulatého čepu
vytvořeného tímto nástrojem |
|
|
|
Řezání kulatých čepů = opak
vyvrtávání otvorů. Tyto nástroje odřezávají dřevo na konci špice nebo
sloupku a zanechávají válec dřeva zvaný kulatý čep. Kulaté čepy jsou formou
čepu ve spojích se zápustkou a čepem. Kulaté čepy se vkládají do kulatých
zápustek, které jsou k nerozeznání od otvorů. Kulaté zápustky a čepy
používali především koláři při upevňování paprsků na ráfky dřevěných kol.
Kulaté zápustky a čepy se používají také při výrobě windsorských židlí.
Vytvoření kulatých čepů, které správně zapadají do příslušných zápustek,
vyžadovalo zručnost a pečlivost. Vývoj dutých šneků umožnil kolářům a
výrobcům židlí opakovaně a rychle řezat kulaté čepy stejných rozměrů a
tvarů. |
|
|
|
koláři tento spoj využívali při
upevňování
paprsků na ráfky dřevěných kol |
|
|
|
|
V letech 1835 až 1928 bylo v USA
vydáno 98 patentů na duté šneky a další nástroje pro řezání kulatých čepů.
(Přestože výroba vagonů a kočárů ve 20. století prudce poklesla, dřevěné
čepy se používaly v kolech motorových vozidel ještě dlouho po první světové
válce.) Mnoho dutých šneků vynalezených v této době řezalo čepy o pevném
průměru. Dělník potřeboval pro každý průměr čepu, který chtěl vyříznout,
jiný dutý šnek s pevnou velikostí. Jiné duté šneky byly nastavitelné, takže
pracovník mohl použít jeden nástroj k řezání čepů různých průměrů, a to
nastavením. |
|
|
|
 |
tyto fotografie vznikly náhodně v roce 2017 ve skanzenu v USA,
aniž by jejich autor tušil, že je v podstatě u části historie tohoto
hlavolamu |
|
|
|
Dnes už je to prakticky
nepoužívaný nástroj. První byl patentován 2. srpna 1870 a nepochybně se
používal také u nás, než ho nahradila jednodušší strojní výroba. Mám za to,
že se jednalo o nějaké menší provedení, protože ta běžná nemá udávanou
hmotnost klece 28,3 g (celý Trilby hlavolam váží 31,4 gramů) Zdá se mi pravděpodobné, že se spletl autor článku a uvedl hmotnost finálního výrobku,
nikoliv jeho předlohy, jelikož ta je zpravidla o něco těžší. |
|
|
|
Bonney's Pattern Hollow Auger
patentovaný 1877
Charlesem S. Bonneyem |
 |
|
|
|
G.N.STEARNS Hollow Auger
patentovaný 1878 |
 |
|
|
|
G.N.STEARNS Hollow Auger
patentovaný 1880 |
 |
|
|
|
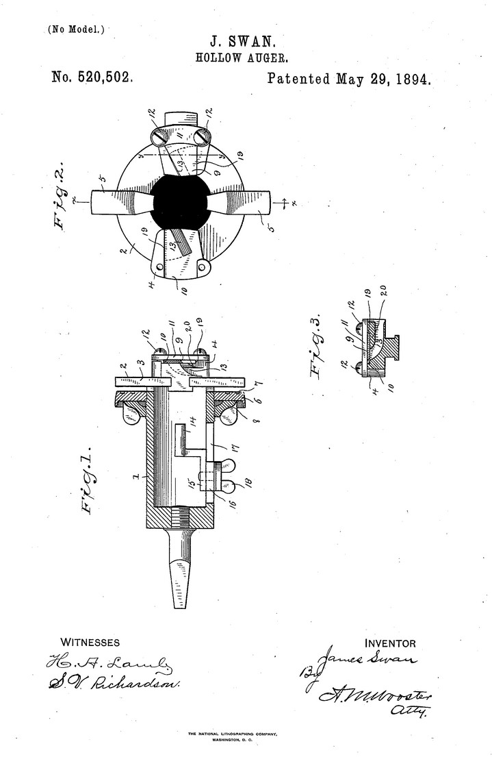
J.SWAN. Hollow Auger
patentovaný 1894 |
 |
|
|
|
Z amerických aukcí se mi podařilo
zakoupit hned několik exemplářů a rovněž dobové omílací hvězdice, abych
si mohl svou teorii ověřit. Nejmenší Stearns má opravdu díru naprosto stejně
velkou jako Trilby a také omílací hvězdice je téměř stejně velká.
Pravděpodobnost, že se hvězdice dostala dovnitř, byla opravdu spíše
náhodou. Pouze s narušením obvodové klece dodatečným výřezem se dá hvězdice do
"klece"
zandat, stejně jako na hlavolamu Trilby. |
|
|
|
 |
různé typy Stearns, omílací hvězdice
a hlavolam Trilby |
|
|
|
Stejnou konstrukci tohoto nástroje
používal také vnější závitník – tzv. očko, který namísto řezání dřevěného čepu řezal
závit do kovu. Používá se to i dnes ale v jednodušší podobě, kdy vyměnitelné očko
různých rozměrů závitů zasadíte do objímky a točíte dvěma madly. Zde se
„pohon“ nasazoval na čtyřhran, který byl výše. K tomuto malému závitníku
jsem došel finálně. Byl ještě menší, lehčí a navíc měl název, který
vše vysvětloval. |
|
|
|
 |
|
|
|
nástroj - závitník v porovnání s
hlavolamem Trilby |
|
|
|
 |
|
|
|
Původnímu hlavolamu Trilby se
přezdívalo také LITTLE TRILBY. Trilby byla v té době určitá móda, jmenoval
se tak druh klobouků, známý román ale i vše co bylo v té době in. Proč ale název Little –
malý? U nástroje, který můžete vidět na fotografii je jasné vysvětlení. V té
době byl nejznámějším výrobcem závitníků výrobce zvaný LITTLE GIANT – malý
obr. Asociace se zněním a umístěním názvu ukazuje velkou pravděpodobnost, že
LITTLE TRILBY vznikl právě z tohoto malého závitníku! |
|
|
|
 |
|
|
|
 |
|
|
|
 |
|
|
|
Poslední zajímavostí této klecové
konstrukce je ještě provedení jako čtyřhranný nebo šestihranný klíč. |
|
|
|
 |
|
|
|
 |
|
|
|
|
|
|
|
Následuje galerie dalších nalezených
fotografií z aukcí a katalogů. Tvary jsou tyto modely velmi podobné
novodobým Ježkům. |
|
|
|



 |
|
|
|
PODROBNĚJŠÍ HISTORIE nástrojů Stearns (hollow augers) |
|
|
|
Kolekce Tison Tool Barn má tři
nastavitelné duté šneky. Prvním je dutý šnek Bonney's Pattern, patentovaný
2. srpna 1870. Tento vrták má jeden řezný nůž. Má kolo s 8 otvory o průměru
od 3/8 palce do 1 palce, což jej omezuje na řezání kulatých čepů těchto
průměrů. Tento rozsah průměrů čepů mohl vyhovovat potřebám většiny truhlářů.
Tento nástroj má dvě drážky vyřezané do úhelníku, což naznačuje, že mohl být
používán nejméně se dvěma různými druhy sklíčidel s řezným úhelníkem. |
|
|
|
Bonney's Pattern Hollow Auger patentovaný 2. srpna 1870
pod číslem 105 896 Charlesem S. Bonneyem |
 |
|
|
|
Další nastavitelný dutý šnek ve
stodole Tison Tool Barn je zobrazen níže. Je označen „E. C. STERNS & CO.
SYRACUSE, N.Y.“ a ‚PATENTED MARCH 16 1880‘. Patent číslo 225 496 byl vydán
Edwardu C. Stearnsovi, který se stal vedoucím společnosti založené jeho
otcem v roce 1864. V roce 1877 se z firmy George N. Stearns & Co. stala
firma E. C. Stearns & Co. Společnost podnikala ještě v roce 1891. Otec a syn
se zjevně zajímali o zdokonalování dutých šneků. George N. Stearnsovi bylo v
letech 1863 až 1880 vydáno 8 patentů na duté šneky, z nichž několik vyráběla
společnost Stearns. |
|
|
|
 |
Stearns's Hollow Auger si nechal patentovat Edward C.
Stearns 16. března 1880, #225,496 jediný dutý šnek patentovaný Edwardem
Sternsem. Jeho otec George si nechal patentovat několik dalších konstrukcí
dutých šneků. Je to přeplněné pole, protože na duté šneky bylo vydáno asi
100 amerických patentů. |
|
|
|
Třetí nastavitelný dutý šnek ve
stodole Tison Tool Barn se zdá být vzácným nálezem. Jediné označení na
nástroji je „PATḎ DEC ~ 1868“. Americký patent 85 423 byl vydán 29. prosince
1868 J. H. Beauregardovi ze Sandy Hill ve státě N. Y.. Webová stránka
Directory of American Tool and Machinery Patents, která se dobrovolně snaží
shromažďovat informace o patentech, nenašla žádný předchozí důkaz o tom, že
by tento nástroj byl někdy vyroben. Nenašel jsem žádné informace o tom, kdo
a kdy tuto položku vyrobil. Tento dutý šnek má dvě řezné čepele. |
|
|
|
Beauregard's Hollow Auger |
 |
|
|
|
Než mohl dutý šnek začít řezat
kulatý čep, musel být konec čepu zašpičatělý, tj. na konci musel být
vyříznut zkrácený kužel, aby na něm mohl být dutý šnek bezpečně vycentrován.
Špice se mohly ořezávat pomocí špičatého nástroje. V Tisonově stodole na
nářadí jsou dva nástroje, které lze takto použít. Prvním z nich je tento
ukazovák nebo ořezávač hmoždinek. Může zaměřit hrot nebo hmoždinku o průměru
až 3/4 palce. Jedinou značkou na nástroji je obchodní značka „STANLEY“. |
|
|
|
 |
Dowel pointer or trimmer. Photo by Donald Albury.
Ukazovátko na hmoždinky nebo ořezávač. |
|
|
|
Dále je to ukazatel paprsků. Tento
nástroj je označen „E. C. STEARNS & CO. SYRACUSE, N. Y.“ Patent č. 220 442
na tento nástroj byl vydán Edwardu C. Stearnsovi 7. října 1879. Tímto
nástrojem lze nasměrovat paprsek nebo sloupek o průměru až 1-3/4 palce. |
|
|
|
Spoke pointer. Photo by Donald Albury. |
 |
|
|